888.BY¼¯Íŵç×ÓÓÎÏ·

888.BY¼¯Íŵç×ÓÓÎÏ·(Öйú)ÓÐÏÞ¹«Ë¾¹ÙÍø
888.BY¼¯Íŵç×ÓÓÎÏ·(Öйú)ÓÐÏÞ¹«Ë¾¹ÙÍø

ÊÖÒÕÎÄÕÂ

Ê×Ò³ - ÐÂÎÅ×ÊѶ - ÊÖÒÕÎÄÕÂ

±ê×¼ºÍÖÆÔìÈÃÌìÏÂÖØÐÂÊìϤ888.BY¼¯Íŵç×ÓÓÎÏ·Ö®Áù£º888.BY¼¯Íŵç×ÓÓÎÏ·ºçÎüÆ÷

Ðû²¼ÈÕÆÚ: 2017-08-23    ä¯ÀÀ´ÎÊý: 8605    ÐÂÎű༭: 

¡¡¡¡ºçÎüÆ÷ÊÇÒ»ÖÖʹÓúçÎüÔ­Àí½«ºæ¸×ÄÚÀäÄýË®ÇãÔþ´Ó¶øÌáÉýºæ¸×Íâòζȵĺæ¸×ÅÅË®×°Öᣡ£¡£¡£¡£¡£¡£¡£Êг¡ÉÏÉú²úµÄºçÎüÆ÷·ÖΪÁ½´óÀ࣬£¬£¬ £¬£¬£¬ £¬ £¬Ò»ÀàÊÇÀο¿Ê½ºçÎüÆ÷£¬£¬£¬ £¬£¬£¬ £¬ £¬Ò»ÀàÊÇÐýתʽºçÎüÆ÷¡£¡£¡£¡£¡£¡£¡£¡£Àο¿Ê½ºçÎüÆ÷¼´Àο¿ÔÚºæ¸×ÍâµÄijһµãÉÏ£¬£¬£¬ £¬£¬£¬ £¬ £¬²»Ëæºæ¸×Ò»ÆðÐýת£»£»£»£»£»ÐýתʽºçÎüÆ÷Àο¿ÔÚºæ¸×ÄÚ²¿£¬£¬£¬ £¬£¬£¬ £¬ £¬Ëæºæ¸×Ò»ÆðÐýת¡£¡£¡£¡£¡£¡£¡£¡£

Àο¿Ê½ºçÎüÆ÷ÏÕЩÄܹ»Ó¦ÓÃÔÚËùÓгµËÙÔÚ100Ã×/·ÖÖÓÒÔÉϵÄ×°±¸ÉÏ£¬£¬£¬ £¬£¬£¬ £¬ £¬Ðü±ÛÀο¿Ê½ºçÎüÆ÷»¹Äܹ»Ó¦ÓÃÔÚ¿ªÊ½³ÝÂֺͱÕʽ³ÝÂÖ´«¶¯µÄÖ½»úÉÏ£¬£¬£¬ £¬£¬£¬ £¬ £¬Äܹ»ÔÚ×îºéÁ÷ƽÉϼõСװ±¸µÄÕñ¶¯ºÍƫת£¬£¬£¬ £¬£¬£¬ £¬ £¬Ê¹ºæ¸×µÄ¼ÓÈÈЧ¹û¸üÉÏÒ»²ãÂ¥¡£¡£¡£¡£¡£¡£¡£¡£

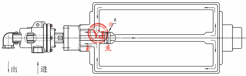
¡¡¡¡±¾¹«Ë¾Äܹ»ÌṩÖÖÖÖÐÎʽµÄÐýתʽºçÎüÆ÷£¬£¬£¬ £¬£¬£¬ £¬ £¬°üÀ¨Í¨Àý¼òÆÓʽºçÎüÆ÷ºÍµÍѹ²îÐýתʽºçÎüÆ÷¡£¡£¡£¡£¡£¡£¡£¡£ÐýתʽºçÎüÆ÷ͨ³£Ë³Ó¦ÓÚÖÐËÙÖ½»ú£¬£¬£¬ £¬£¬£¬ £¬ £¬ÓÉÓÚºçÎü¹ÜµÄÎü×ìÓë¸×±Ú¼äµÄ¼ä϶ºÜС£¡£¡£¡£¡£¡£¡£¡£¬£¬£¬ £¬£¬£¬ £¬ £¬ÐγɵÄË®»·ºñ¶ÈºÜ±¡£¡£¡£¡£¡£¡£¡£¡£¬£¬£¬ £¬£¬£¬ £¬ £¬Òò´ËÈÈ´«µ¼Ð§¹û½ÏºÃ¡£¡£¡£¡£¡£¡£¡£¡£±¾¹«Ë¾Éú²úµÄÐýתʽºçÎüÆ÷Æä×é×°¼þÉÙ£¬£¬£¬ £¬£¬£¬ £¬ £¬ÔÚºçÎüÆ÷µÄÈë¿Ú´¦ÓÐÒ»¸ö²»Ðâ¸ÖÎü×ìÓë±ÊÖ±ÀäÄýË®¹Üº¸½ÓÔÚÒ»Æð£¬£¬£¬ £¬£¬£¬ £¬ £¬¶øÔÚÁíÒ»¶ËÓÐÒ»¸öµ¯»ÉÖ§³ÖµÄѹÁ¦ÅÌʹºçÎüÆ÷¶¨Î»£¬£¬£¬ £¬£¬£¬ £¬ £¬ÒÔÏÂΪ±¾¹«Ë¾³£¼ûµÄºçÎüÆ÷½á¹¹£º

¡¡¡¡Ò»¡¢Àο¿Ê½ºçÎüÆ÷

¡¡¡¡1.?Èí¹ÜʽºçÎüÆ÷

¡¡¡¡Èí¹ÜʽºçÎüÆ÷ÊÇÆ¾Ö¤ºæÍ²ÌØµã¶øÓëÐýתÌÖÂÛÅäÌ×ʹÓõÄ£»£»£»£»£»ºçÎü¹ÜÊÇÓÉÄÓÐԽϺõIJ»Ðâ¸Ö½ðÊôÈí¹ÜÖÆ³É£¬£¬£¬ £¬£¬£¬ £¬ £¬ÒÀÀµ×ÔÉíÖØÁ¿£¬£¬£¬ £¬£¬£¬ £¬ £¬×ÔÓÉÏ´¹µ½ºæ¸×µ×²¿£¬£¬£¬ £¬£¬£¬ £¬ £¬Òò´Ë×°ÖÃÊ®·Ö±ãµ±¡£¡£¡£¡£¡£¡£¡£¡£

888.BY¼¯Íŵç×ÓÓÎÏ·(Öйú)ÓÐÏÞ¹«Ë¾¹ÙÍø

¡¡¡¡Ìص㣺

¡¡¡¡1) Èí¹Ü½á¹¹²»Êܺæ¸×Öá¾±¾Þϸ¡¢ºæ¸×Ö±¾¶ÏÞÖÆ£¬£¬£¬ £¬£¬£¬ £¬ £¬×°ÖÃÀû±ã£»£»£»£»£»

¡¡¡¡2) ²âËãʱÐè˼Á¿Èí¹ÜÄÓÐÔÏ´¹¶È£¬£¬£¬ £¬£¬£¬ £¬ £¬ÒòÊܵ½Èí¹ÜÖÊÁÏÄÓÐÔÏÞÖÆ£¬£¬£¬ £¬£¬£¬ £¬ £¬ÎÞ·¨¿ØÖÆÎü×ì¾àºæ¸×ÄÚ±Ú¾àÀ룬£¬£¬ £¬£¬£¬ £¬ £¬ÈÝÒ×Ôì³Éºæ¸×»ýˮ̫¶à»òÊÇÈí¹ÜÎü×ì¿ÚÓëºæ¸×ÄÚ±Ú±¬·¢Ä¦²Á£»£»£»£»£»

¡¡¡¡3) ºçÎüÈí¹ÜÎüË®ºó»áÔì³ÉÖØÁ¿ÔöÌí£¬£¬£¬ £¬£¬£¬ £¬ £¬¶øÈí¹ÜÏ´¹¸ß¶ÈÔöÌí£¬£¬£¬ £¬£¬£¬ £¬ £¬ÈÝÒ×Ôì³É²Á¸×£¬£¬£¬ £¬£¬£¬ £¬ £¬±¾¹«Ë¾ºçÎüÆ÷½¨ÒéÏ´¹¶ÈΪ25mm£»£»£»£»£»

¡¡¡¡Ï´¹µÄºçÎüÈí¹ÜÎÞ¸ÖÐÔ£¬£¬£¬ £¬£¬£¬ £¬ £¬ÊÜÀäÄýË®¹¥»÷ºó£¬£¬£¬ £¬£¬£¬ £¬ £¬»á±¬·¢°Ú¶¯£¬£¬£¬ £¬£¬£¬ £¬ £¬Æ«ÒÆÎüˮλÖ㬣¬£¬ £¬£¬£¬ £¬ £¬ÊÊÓÃÓÚµÍËÙÐýתװ±¸¡£¡£¡£¡£¡£¡£¡£¡£


¡¡¡¡2.ÄÚÖ§³Öʽ90¡ãËø½ôʽºçÎüÆ÷

¡¡¡¡ÄÚ¹ÜÖ§³ÖÀο¿Ê½ºçÎüÆ÷ÊÇÒ»ÖÖÓÉÄÚ²¿Ì¼ÖÊÌ×¹ÜÖ§³ÖµÄÐü±ÛÀο¿Ê½ºçÎüÆ÷¡£¡£¡£¡£¡£¡£¡£¡£½áʵµÄ²»Ðâ¸Öˮƽ¹ÜÓë±ÊÖ±¹ÜʹÓÃרÓеÄËø¶¨»úÖÆÀο¿¡£¡£¡£¡£¡£¡£¡£¡£ÍäÍ·°üÀ¨ËIJ¿·Ö£ºÖ÷Ìå¡¢°Ú¶¯Ìå¡¢Ëø¶¨ÂÝË¿ºÍµ¯»É¡£¡£¡£¡£¡£¡£¡£¡£ËùÓÐ×é¼þ¾ù½ÓÄɲ»Ðâ¸ÖÖÆ³É¡£¡£¡£¡£¡£¡£¡£¡£

888.BY¼¯Íŵç×ÓÓÎÏ·(Öйú)ÓÐÏÞ¹«Ë¾¹ÙÍø

¡¡¡¡Ìص㣺

¡¡¡¡1) ºçÎüÆ÷½á¹¹²»Êܺæ¸×Öá¾±¾Þϸ¡¢ºæ¸×Ö±¾¶ÏÞÖÆ£¬£¬£¬ £¬£¬£¬ £¬ £¬×°ÖÃÀû±ã£»£»£»£»£»

¡¡¡¡2) ÄÚÖ§³Öˮƽ¹Ü£¬£¬£¬ £¬£¬£¬ £¬ £¬ÔöÇ¿ÁËˮƽ¹ÜµÄÇ¿¶È£»£»£»£»£»

¡¡¡¡3) ¿ÉʹÎü×ì¿Ú¾àºæ¸×ÄÚ±Ú¾àÀëÖÁ×î½ü£»£»£»£»£»

¡¡¡¡4) ¸üºÃ×èÖ¹¿ÉÄÜÒòË®Á÷¹¥»÷±»Ë𻵵ÄΣÏÕÐÔ¡£¡£¡£¡£¡£¡£¡£¡£


¡¡¡¡3.ÍäͷʽºçÎüÆ÷
888.BY¼¯Íŵç×ÓÓÎÏ·(Öйú)ÓÐÏÞ¹«Ë¾¹ÙÍø
¡¡¡¡Ìص㣺
¡¡¡¡1) ½ÓÄɽÂÁ´ÅþÁ¬£¬£¬£¬ £¬£¬£¬ £¬ £¬Àû±ã×°Öá¢Ò×ά»¤£»£»£»£»£»
¡¡¡¡2) Á½Öâ½ÓÖ®¼ä½ÓÄɾ­Óɾ«Ä¥¼Ó¹¤µÄÇòÍ·ÓëÖ®Ïà½ÓµÄÄÚ¿×Ò»ÏßÃÜ·â,¼ÓÖ®½ô¶¨µ¯»ÉʹÁ½Öâ½Ó¼ä£¬£¬£¬ £¬£¬£¬ £¬ £¬ÐγÉÁËÓÅÒìµÄÃܷ⣻£»£»£»£»
¡¡¡¡3) ÊÊÓÃÓÚµÍËÙÐýתװ±¸¡£¡£¡£¡£¡£¡£¡£¡£

¡¡¡¡4.µ¯»É½ôËøÊ½ÍäÍ·ºçÎüÆ÷

888.BY¼¯Íŵç×ÓÓÎÏ·(Öйú)ÓÐÏÞ¹«Ë¾¹ÙÍø

¡¡¡¡Ìص㣺
¡¡¡¡1) ËùÓнÓÄɲ»Ðâ¸ÖÉè¼Æ£¬£¬£¬ £¬£¬£¬ £¬ £¬ÖÆÔìÇ¿¶È¸ß£»£»£»£»£»
¡¡¡¡2) ½ÓÄɽÂÁ´½á¹¹£¬£¬£¬ £¬£¬£¬ £¬ £¬²»Ðâ¸Öµ¯»ÉËø¶¨£¬£¬£¬ £¬£¬£¬ £¬ £¬×°ÖÃʱ¿ÉÒÔÉìÖ±£»£»£»£»£»
¡¡¡¡3) ¿ÉÖ±½Ó´Óºæ¸×Öá¾±ÄÚ¿×ÖÐ×°Ö㬣¬£¬ £¬£¬£¬ £¬ £¬Ê¹ÓÃÀû±ã£»£»£»£»£»
¡¡¡¡4) ÃÜ·â½ÓÄÉÏ´¹µÄ͹ÇòÃæºÍˮƽµÄ°¼ÇòÃæÃܷ⣬£¬£¬ £¬£¬£¬ £¬ £¬ÃÜ·âÐÔÄܺᣡ£¡£¡£¡£¡£¡£¡£

¡¡¡¡5.Íä¹ÜʽºçÎüÆ÷
888.BY¼¯Íŵç×ÓÓÎÏ·(Öйú)ÓÐÏÞ¹«Ë¾¹ÙÍø
¡¡¡¡Ìص㣺
¡¡¡¡1) ÕûÌå½ÓÄɲ»Ðâ¸Ö»ò̼¸ÖÖÊÁÏÉè¼Æ£¬£¬£¬ £¬£¬£¬ £¬ £¬ÖÆÔìÇ¿¶È¸ß£»£»£»£»£»
¡¡¡¡2) ºçÎüÆ÷×°ÖÃʱÊܵ½Íä¶ÈµÄÏÞÖÆ£¬£¬£¬ £¬£¬£¬ £¬ £¬²âËãʱÐè˼Á¿ºæ¸×Öá¾¶Äڿ׵ĴóС£¡£¡£¡£¡£¡£¡£¡£¬£¬£¬ £¬£¬£¬ £¬ £¬¸Ã½á¹¹ÊÊÓÃÓÚºæ¸×Öá¾¶ÄÚ¿×´ó¡¢ÔËתËÙÂʵ͵Ä×°±¸¡£¡£¡£¡£¡£¡£¡£¡£

¡¡¡¡¶þ¡¢ÐýתʽºçÎüÆ÷
¡¡¡¡ÐýתʽºçÎüÆ÷Ïà±ÈÓÚÀο¿Ê½ºçÎüÆ÷ÔËתËÙÂʸü¸ß£¬£¬£¬ £¬£¬£¬ £¬ £¬ÓÉÓÚºçÎü¹ÜµÄÎü×ìÓë¸×±Ú¼äµÄ¼ä϶С£¡£¡£¡£¡£¡£¡£¡£¬£¬£¬ £¬£¬£¬ £¬ £¬ÐγɵÄÁ÷Ìå½éÖʺñ¶È±¡£¡£¡£¡£¡£¡£¡£¡£¬£¬£¬ £¬£¬£¬ £¬ £¬Òò´Ë´«µ¼Ð§¹û½ÏºÃ¡£¡£¡£¡£¡£¡£¡£¡£ ±¾¹«Ë¾ËùÉú²úµÄÐýתʽºçÎüÆ÷ÀàÐÍÖ÷ÒªÓÐÒÔÏÂÐÎʽ£º

1
888.BY¼¯Íŵç×ÓÓÎÏ·(Öйú)ÓÐÏÞ¹«Ë¾¹ÙÍø
2
888.BY¼¯Íŵç×ÓÓÎÏ·(Öйú)ÓÐÏÞ¹«Ë¾¹ÙÍø

3

888.BY¼¯Íŵç×ÓÓÎÏ·(Öйú)ÓÐÏÞ¹«Ë¾¹ÙÍø

4
888.BY¼¯Íŵç×ÓÓÎÏ·(Öйú)ÓÐÏÞ¹«Ë¾¹ÙÍø
5

888.BY¼¯Íŵç×ÓÓÎÏ·(Öйú)ÓÐÏÞ¹«Ë¾¹ÙÍø
6
888.BY¼¯Íŵç×ÓÓÎÏ·(Öйú)ÓÐÏÞ¹«Ë¾¹ÙÍø

¡¡¡¡ÄúµÄÖª×㣬£¬£¬ £¬£¬£¬ £¬ £¬888.BY¼¯Íŵç×ÓÓÎÏ·×·Çó£¡ÓûÖª²úÆ·ÏêÇ飬£¬£¬ £¬£¬£¬ £¬ £¬Ç벦´òµç»°0595-22201044×Éѯ¡£¡£¡£¡£¡£¡£¡£¡£

Copyright ?888.BY¼¯Íŵç×ÓÓÎÏ· °æÈ¨ËùÓÐ ÃöICP±¸05026600ºÅ Öлú±ê×¼»¯Ñо¿Ôº ÍøÕ¾½¨É裺¿ÆÎ°ÍøÂç

¡¾ÍøÕ¾µØÍ¼¡¿¡¾sitemap¡¿